
Опоры являются главным несущим элементом во всех железобетонных опорах. Основная их задача – это выдержать основную нагрузку.
Существуют различные типы опор, которые имеют свое предназначение. Монтаж достаточно сложный и трудоемкий процесс, поскольку для рабочей процедуры требуется специальная сложная строительная техника.
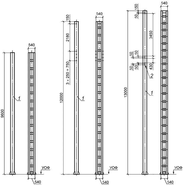
Опоры состоят
- Из бетонной основы.
- Армированного каркаса.
В зависимости от предназначения, для конструкций применяют разного состава растворы. Если опоры используют для линий электропередач, мощность которых не превышает 110 кВ, тогда их изготовляют из центрифугированных смесей. Особенности конструкции и чертежи посмотрите тут.
Особенности и преимущества
- Все конструкции опор из железобетона обладают высокой устойчивостью к коррозийным процессам.
- Не поддаются воздействию химических агрессивных средств, которые могут находиться во внешней среде.
Несмотря на особую прочность и высокое качество у опор так же есть свои недостатки.
- Большой вес, что значительно усложняет рабочий процесс по монтажу и установке.
- Сложная транспортировка (требуется специальная, сложная техника).
- Как ни странно материал чувствителен до разного вида механических воздействий. Особенно – это заметно при транспортировке. На опорах можно отмечать разные сколы или незначительные трещины.
Некоторые изделия дополнительно снабжаются армированным каркасом, благодаря которому изделие приобретает дополнительную прочность. Так же арматуру используют для монтажа электрических проводов на траверсах, или специальных крючках.
Для крюков еще на этапе промышленного производства проделывают специальные отверстия. Крючки можно монтировать еще до установки опоры.
Фиксируются все железобетонные опоры в грунте или специально подготовленном фундаменте, с обязательным погружением в почву.
Те опоры, которые устанавливаются в подготовленном фундаменте, бывают двух типов:
- Узкобазовые.
- Классические.
Установка опор проводится только после того как будет проведена контрольная выверка.























